Brændstof-/vandtank niveauføler, SAE 5 huls flange, 225 mm
Brændstof-/vandtank niveauføler, SAE 5 huls flange, 225 mm

Brændstof-/vandtank niveauføler, SAE 5 huls flange, 225 mm

289,00 DKK

9 på lager

Antal

Beskrivelse

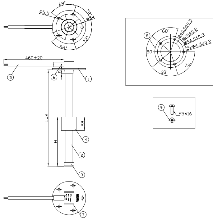
Niveauføler til brændstoftanke og vandtanke med standard SAE 5 huls flange (se tegning), EU-standard 0-190Ω og med tankhøjde 225 mm.

Leveres inkl. pakning og skruer.

Niveaufølere til US-standard 240-33Ω og eller til BSP 1 1/4" gevind kan bestilles. Kontakt os venligst.

Material: The main body is made of SS316 stainless steel
Length range: 100 - 2000 mm. It also can be customized according to your requirements.
Mounting: SAE standard 5 holes, other mounting methods available.
Accessories: 5 x M5 screws, 2 mm thick NBR gasket.
Protection rank: IP67.
Utilizing magnetic field to control the reed on-off switch, the product features a long service life and protection against vibration.
Resistance control signal, 0~190Ω or 240~33Ω.
Resolution range: 10~40mm
Operating temperature: -40º ~+85º